| 型号 | 描述 | 连接方式 | 防护等级 | 3D下载 | 2D下载 |
| H16A-MCV-2B/1S | 16A 金属外壳 - 防尘盖 - 用于下壳 | 线圈 | IP65 | ||
| H16A-MCV-2B/2S | 16A 金属外壳 - 防尘盖 - 用于下壳 | 平扣环 | IP65 |
技术参数
| 材料: | 铸锌 Zinc Die-Cast |
| 颜色: | 灰色 Grey |
| 联锁元件 | |
| 联锁方式: | 金属弹性压合 Lever |
| 材料: | 金属(铁)镀锌 Metal Galvanized / Nickel Plating |
| 密封元件: | NBR |
| 适用温度范围: | -40℃ ~ +125℃ |
| 阻燃等级: | V0 |
| 防护等级(联锁状态,DIN EN 60 529): | IP65 |
| 型号 | 描述 | 连接方式 | 防护等级 | 3D下载 | 2D下载 |
| H16A-MCV-2B/1S | 16A 金属外壳 - 防尘盖 - 用于下壳 | 线圈 | IP65 | ||
| H16A-MCV-2B/2S | 16A 金属外壳 - 防尘盖 - 用于下壳 | 平扣环 | IP65 |
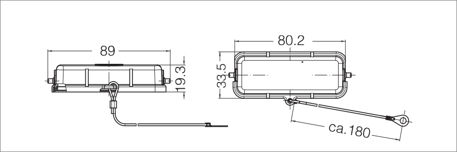
尺寸图

技术参数
| 材料: | 铸锌 Zinc Die-Cast |
| 颜色: | 灰色 Grey |
| 联锁元件 | |
| 联锁方式: | 金属弹性压合 Lever |
| 材料: | 金属(铁)镀锌 Metal Galvanized / Nickel Plating |
| 密封元件: | NBR |
| 适用温度范围: | -40℃ ~ +125℃ |
| 阻燃等级: | V0 |
| 防护等级(联锁状态,DIN EN 60 529): | IP65 |
| 型号 | 描述 | 连接方式 | 防护等级 | 3D下载 | 2D下载 |
| H16A-MCV-2B/1S | 16A 金属外壳 - 防尘盖 - 用于下壳 | 线圈 | IP65 | ||
| H16A-MCV-2B/2S | 16A 金属外壳 - 防尘盖 - 用于下壳 | 平扣环 | IP65 |
尺寸图


扫一扫
关注官方微信